Анализ безопасности дожимного кислородного компрессора высокого давления
В этой статье проводится всесторонний анализ и оценка конструкции и безопасного использования системы наполнения кислородом под сверхвысоким давлением, а также предлагаются меры по предотвращению взрывов.
Горение материала имеет три необходимых условия: горючий материал, поддерживающий горение материал и температура горения (источник воспламенения). Кислород является одним из наиболее распространенных поддерживающих горение веществ (окислителей). Эта система используется для производства, хранения и транспортировки кислорода высокой чистоты. Поэтому для предотвращения взрыва должны быть приняты меры как по горючим веществам, так и по температуре горения.
Безопасный дизайн кислородный компрессор высокого давления и система наполнения
Кислород является сильным окислителем, который легко вступает в реакцию с другими веществами и вызывает возгорание. Поэтому, в дополнение к общим правилам и положениям безопасного сжатия и наполнения газа, такого как воздух и азот, в процессе сжатия и наполнения кислородом также необходимо уделять внимание предотвращению взрыва.
Аспекты проектирования безопасности:
1. Конструкция безопасности конструкции компрессора
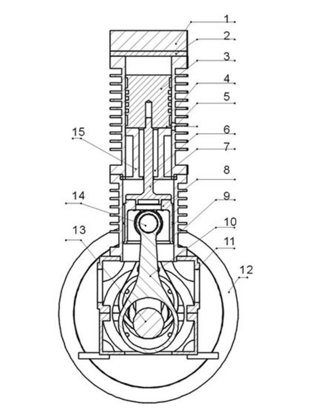
В нем используется поршневой компрессор с безмасляной смазкой.

Из приведенного выше рисунка видно, что механизм движения компрессора', такой как вращение шатуна коленчатого вала, возвратно-поступательное линейное движение направляющего поршня и поршня, не требует дополнительной тонкой масляной смазки. В этом компрессоре используются герметичные подшипники с консистентной смазкой для вращательного движения и самосмазывающиеся материалы для возвратно-поступательного движения. В корпусе компрессора нет разбавленного смазочного масла, а в герметичных подшипниках используется антиокислительная перфторированная смазка.
Поскольку контакт кислорода и масла при высокой температуре и высоком давлении вызывает сильную реакцию, компрессор полностью безмасляный, что значительно снижает вероятность взрывов и закладывает основу для безопасного использования компрессора.
Компрессор имеет четырехрядную вертикальную конструкцию, цилиндры каждой ступени собраны вместе, а для продувки и теплообмена используется внешний вентилятор. Теплообмен достаточный, а температура процесса сжатия кислорода регулируется на более низком уровне. Внешний вид компрессора показан на рисунке ниже:

Теоретическая температура выхлопа на всех уровнях не более 130°С, а фактическая контрольная в пределах 100°С. Чтобы обеспечить надежность и безопасность работы компрессора, компрессор разработан с использованием низкоскоростного метода. Теоретическая расчетная скорость составляет 200 об/мин. Чрезвычайно низкая скорость продлевает срок службы быстроизнашивающихся деталей и обеспечивает безопасную работу компрессора.
Скорость газовой среды, сжатой в компрессоре, влияет не только на эффективность компрессора, но и для кислородной среды слишком высокая скорость потока также может привести к взрыву компрессора. Поэтому расход кислорода в каждом трубопроводе компрессора выбирают строго в соответствии с допустимым расходом в трубке. В соответствии с руководством по проектированию компрессора значения удельного расхода следующие:
Давление / МПа | ≤0,6 | 0,6 - 1,0 | 1,0 - 3,0 |
Скорость потока / м/с | 7- 8 | 6 - 4 | 4 - 3 |
В соответствии с этим давление компрессора высокого давления составляет 30 МПа, а расчетная скорость воздушного потока составляет 0,07 с/м.
2. Материалы безопасности кислородный компрессор
Кислород может химически реагировать со многими веществами. Поэтому детали компрессора, контактирующие с кислородом высокой чистоты, должны быть химически инертны. Таким образом, цилиндр компрессора, клапан, головка цилиндра, трубопровод и другие материалы изготовлены из нержавеющей стали с низким содержанием углерода; поршень компрессора, из-за конструкции компрессора требует алюминиевого сплава и медного сплава, эти материалы быстро проводят тепло и не производят искр при трении. Поршневое кольцо и опорное кольцо компрессора изготовлены из политетрафторэтилена, который известен как король пластмасс, стойкий к сильным кислотам и щелочам и не окисляющийся. В статическом уплотнительном кольце компрессора используется уплотнительное кольцо из фторкаучука с превосходной химической стабильностью; Резьбовое уплотнение компрессора использует ленту из сырья PTFE, которая обладает хорошим уплотняющим эффектом и устойчивостью к старению.
Категории
последний блог
© Авторские права: 2026 Aircompsupplier Все права защищены.
IPv6 сеть поддерживается